۱۴۰۴ جمعه ۰۸ اسفند

اخبار

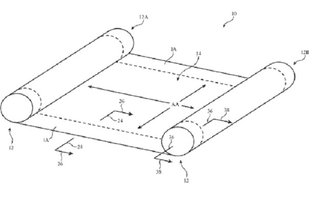
اپل به دنبال تولید آیفون لوله شونده

ICTPRESS - در شرایطی که بسیاری از شرکت‌های سازنده گوشی‌های هوشمند در اندیشه تولید گوشی‌هایی با نمایشگرهای تاشو هستند، اپل قصد تولید آیفون لوله شونده را دارد.

تهیه نقشه فوق دقیق از سیارک بنو توسط ناسا

ICTPRESS - ناسا برای اولین بار با استفاده از کاوشگر طیف سنج حرارتی فضایی خود موسوم به اوسیریس رکس نقشه ای فوق دقیق از سیارک بنو تهیه کرده که حاوی جزئیات فراوانی است.

چاپ سه بعدی دریچه های دستگاه تنفس مصنوعی در هند

ICTPRESS - تعدادی از شرکت های نوپا در هند با همکاری شرکت اچ پی تولید دریچه های دستگاه تنفس مصنوعی را با استفاده از چاپگر سه بعدی آغاز کرده اند.

برگزاری فین‌استارزپلاس2020 به تعویق افتاد

ICTPRESS - با توجه به مشخص نبودن زمان برپایی نمایشگاه فاینکس، برگزاری رویداد فین‌استارزپلاس2020 نیز تا اطلاع ثانوی به تعویق می‌افتد.

رشد ۱۷۰ درصدی فروش هوآوی در بازار تجهیزات الکترونیکی پوشیدنی

ICTPRESS - هوآوی رشد قابل توجهی را در سال گذشته میلادی در بازار فروش دستگاه‌های الکترونیکی پوشیدنی نظیر ساعت‌های هوشمند و هدست‌های بلوتوثی تجربه کرده است.

«20 گیگابایت» اینترنت هدیه معلمان فعال شد

ICTPRESS - اینترنت رایگان 20 گیگابایتی ایرانسل برای تشکر از تلاش معلمان در تدریس آنلاین، فعال شد.

برخط جهان فناوری 26 مارس را دنبال کنید

ICTPRESS - عناوین برگزیده اخبار فناوری های نوین در ایران و جهان (26 مارس) را در ادامه می خوانید.

«چی خوبه» مجوز ورود کودکان به دنیای انیمیشن

ICTPRESS - همزمان با تعطیلات نوروز و شیوع ویروس کرونا، اپلیکیشن چی خوبه (راهنمای والدین) آغاز به کار کرد.

بسته اینترنت هدیه ٢٠ گیگی معلمان همراه اولی فعال شد

ICTPRESS - همراه اول اینترنت هدیه معلمان را به پاس زحمات آنان در تدریس غیرحضوری به مدت سه ماه فعال کرد.

آغاز تولید خودروی برقی پل استار2در چین علیرغم شیوع کرونا

ICTPRESS - در شرایطی که اکثر کارخانه های خودروسازی در آمریکا و اروپا به علت شیوع ویروس کرونا تعطیل شده اند، شرکت پل استار چین از آغاز تولید خودروی برقی پل استار 2 خبر داده است.